Espressif Systems EchoEar AI Development Kits
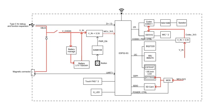
Espressif Systems EchoEar AI Development Kits use large model capabilities to achieve full-duplex voice interaction, multimodal recognition, and intelligent agent control. These devices are equipped with an ESP32-S3 module, a 1.85" QSPI circular touchscreen, and a dual microphone array. The kits also support offline voice wake-up and sound source localization algorithms. The EchoEar AI development kits provide a solid foundation for developers to create complete edge-side artificial intelligence (AI) application experiences. The device's main controller uses the ESP32-S3-WROOM-1-N16R16V module that supports Wi-Fi® and Bluetooth® 5 (LE) wireless connectivity.
The EchoEar AI development kits offer 16MB PSRAM and 16MB Flash storage space, and are also equipped with a microSD card slot. This slot can support up to 32GB, meeting the needs of voice interaction and multimedia processing. The 1.85" circular touch screen features ESP32-S3 native touch sensors, providing an intuitive and rich interactive experience. These devices provide a built-in 3W speaker and dual microphone array, supporting local voice wake-up and sound source localization. The EchoEar AI development kits integrate a USB Type-C® interface for power supply and programming downloads, while reserving a Pogo pin interface for convenient functional expansion. Typical applications include toys, smart speakers, and smart central control systems.
Features
- Achieve full-duplex voice interaction, multimodal recognition, and intelligent agent control
- ESP32-S3 module
- 1.85" QSPI circular touchscreen with ESP32-S3 native touch sensors
- Dual microphone array
- 16MB PSRAM and 16MB Flash storage space
- MicroSD card slot that supports up to 32GB
- Built-in 3W speaker
- Supports offline voice wake-up and sound source localization algorithms
- Supports Wi-Fi and Bluetooth 5 (LE) wireless connectivity
- Integrated USB Type-C interface for power supply and programming downloads
- Pogo pin interface for convenient functional expansion
- Blue color option (EchoEar-Blue-EN)
- English option (EchoEar-EN)
Applications
- Toys
- Smart speakers
- Smart central control systems
Additional Resources
Block Diagram
CoreBoard PCB Front View
BaseBoard PCB Front View
Front View
Back View
