Analog Devices Inc. ADRF5144 Reflective Switches

Analog Devices ADRF5144 Reflective Switches are single-pole double-throw (SPDT) switches manufactured using silicon. The ADRF5144 has an operating range from 1GHz to 20GHz with a typical insertion loss of 0.8dB and a typical isolation of 52dB. The ADRF5144 features a radio frequency (RF) input power handling capability of 40dBm average power and 44dBm peak power for the insertion loss path.

The ADI ADRF5144 draws a low current of 130μA on a positive supply of +3.3V and 510μA on a negative supply of -3.3V. The device utilizes complementary metal-oxide semiconductor (CMOS)-/low-voltage transistor to transistor logic (LVTTL)-compatible controls. The ADRF5144 needs no additional driver circuitry, which makes it an excellent alternative to GaN and PIN diode-based switches.

The ADRF5144 can also function with a single positive supply voltage (VDD) applied while the negative supply voltage (VSS) is tied to ground. The small signal performance is maintained in this operating condition while the switching characteristics, linearity, and power handling performance are derated.

The ADRF5144 is available in a 20-lead, 3.0mm × 3.0mm, RoHS-compliant, land grid array (LGA) package and operates from -40°C to +85°C.

Features

  • 1GHz to 20GHz wideband frequency range
  • No low-frequency spurious
  • High power handling at TCASE = +85°C:
    • Insertion loss path:
      • 40dBm average
      • Pulsed (>100ns pulse width, 15% duty cycle) of 43dBm
      • Peak (≤100ns peak duration, 5% duty cycle) of 44dBm
    • Hot-switching of 37dBm
  • 0.8dB Typical to 20GHz low insertion loss
  • 52dB Typical to 20GHz high isolation
  • High input linearity:
    • 0.1dB power compression (P0.1dB) at 44dBm
    • Third order intercept (IP3) of >70dBm
    • Second order intercept (IP2) of 120dBm
  • 0.1dB RF settling time with PIN <37dBm of 750ns
  • Positive control interface, CMOS/LVTTL-compatible
  • 20-lead, 3.0mm × 3.0mm LGA package
  • Pin compatible with ADRF5141

Applications

  • Military radios, radars, and electronic counter measures
  • Satcom
  • Test instrumentation
  • GaN and PIN diode replacement

Videos

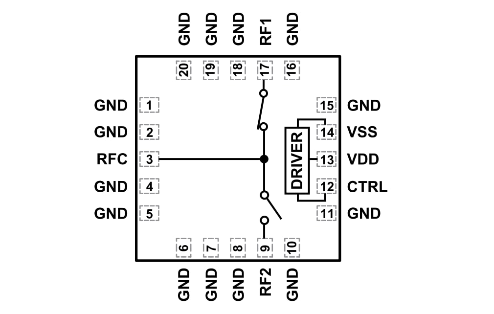
Block Diagram

Block Diagram - Analog Devices Inc. ADRF5144 Reflective Switches
Publicado: 2023-12-18 | Actualizado: 2024-07-29