Amphenol SGX Sensortech VQ31 Thermal Conductivity Gas Sensors
Amphenol SGX Sensortech VQ31 Thermal Conductivity Gas Sensors consist of two matched elements that detect gases in 0 to 100% by volume concentrations when using the recommended bridge circuit and suggested mounting arrangement. The VQ31M is supplied with braided leads and the VQ31MB features extended pins for fitting directly to printed circuit boards. These gas sensors operate on the thermal conductivity principle.Features
- 2.0V to 3.5V Bridge supply
- Bridge power consumption
- 0.35W maximum at 3.5V
- 0.28W at 2.0V
- Typical response to methane in the air
- 2.5mV/% at 3.5V
- 1.0mV/% at 2.0V
- 100mA current rating
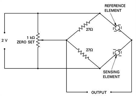
Bridge Circuit
Mounting Arrangement
Publicado: 2017-05-12
| Actualizado: 2023-05-12
